閥門密封中O型圈防吹出結構設計
優質內容 來源:O型圈 作者:旭麗橡塑 發布時間:2021-05-07 14:38:06 閱讀次數: 收藏數:11 分享:52
閥門結構里面也會經常使用到密封圈,閥門使用密封圈主要是達到密封的作用,而在結構當中,它的體積小,結構簡單、重量輕、成本低廉、安裝和拆卸方便,而且有非常好的密封性能,才會在氣動、液壓系統中得以廣泛的應用。
當是,有報道發現:某型號大流量DN20 PN10快速接頭在試驗時O型圈被從出口端吹出,密封失效,造成接頭報廢,且該快速接頭為某型號配套,一旦安裝到系統上不僅有造成系統無法正常工作的風險,還將會成為危及系統安全的嚴重隱患。為更好地解決此問題,對該快速接頭故障現象進行了全面分析及試驗驗證,Z終對密封結構在原有的結構基礎上進行改進設計,解決了O型圈被吹出的問題,提高了閥門的使用穩定性。
一、原因分析
O型圈作為使用Z廣泛的密封件,如果材料選擇得當,可以滿足各種介質和各種運動條件的要求,但如果使用方法不當,會造成密封失效。故障發生后,從人、機、料、法、環五個方面查找原因,分析造成密封失效和O型圈被吹出,通常有以下幾種情況:
①O型圈溝槽尺寸超差,使O型圈安裝后壓縮變形量不足而影響其密封能力,一般動密封過盈量控制在10%~15%,壓縮比控制在70%左右,靜密封過盈量控制在15%~25%,壓縮比控制在80%左右;另一方面,溝槽深度不夠則會造成O型圈受外力較大時脫槽而出;
②O型圈的公稱尺寸與實際安裝尺寸相差太多,使得O型圈在拉伸后截面尺寸縮小的狀況下工作,造成壓縮量不足而產生泄漏;
③設計時安裝O型圈的進口導向處必須倒圓角光滑過渡,否則O形圈易劃傷也會造成泄漏;
④徑向密封盡量避免選擇180°分模面的O型圈,否則可能會使分模面處于密封帶上而造成泄漏;
⑤選擇O型圈時一定要考慮與介質的相溶性,以免O形圈材質被工作介質浸蝕造成密封失效。
此外,溝槽和密封面的粗糙度也會影響O型圈的密封效果。
對故障閥門進行分解,看到O型圈無破損現象。查閱設計圖紙及加工過程質量控制發現,閥桿安裝處設計有倒角確定未對O型圈造成劃傷,且O型圈的分模面為180°分模。要求閥桿溝槽及閥體錐面光潔度為Ra0.8.儀器測量滿足設計要求,為排除這一故障,將閥桿溝槽粗糙度加嚴為Ra0.4.并研磨閥體內錐至Ra0.4.重新裝配后進行試驗,產品仍未密封,繼續升高入口壓力至10MPa時,O型圈飛出,問題未解決。隨后適當加大O形圈溝槽深度,重新裝配進行試驗,O型圈吹出問題解決,但產品無法實現密封。通過系列分析表明,此密封結構設計不合理,無法保證合理過盈量的情況下實現密封,因此,對設計結構進行更改。

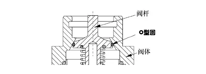
二、改進前密封副結構
下圖為改進之前閥門密封副結構設計,在彈簧力的作用下閥桿與閥體錐面接觸,O型圈被壓縮,從而實現密封。從圖中可以發現,由于閥門通徑大、流量大,為保證需要的流通面積,防止閥體錐面與閥桿Z大外圓處節流,同時又要保證O型圈有足夠的過盈量,因此,閥桿溝槽設計較淺,造成反向通氣時隨著壓力的增加O型圈被吹出的后果,使閥門喪失工作性能。

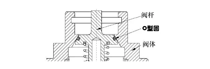
三、改進后密封副結構
為解決上述問題,對閥門的密封副結構進行改進設計,仍然使用O型圈與金屬錐面密封,但是O型圈溝槽位置進行更改,如下圖所示。O型圈溝槽位置不再設置在外圓處,而是設計在閥桿錐面上,通氣時大大提升了O型圈在軸向的受力面積,且產品體積和質量均無變動,零部件只需更改閥桿,經濟有效。使用新結構后進行試驗驗證,試驗結果符合設計預期,完美地解決了O型圈被吹出的問題。

四、結論
通過結構改進有效地解決了密封副中O型圈被吹出的問題,大大提升了閥門的性能穩定性。此外,雖然O型圈作為Z常用的密封件,它既可以用于動密封,也可以用于靜密封,不僅可以單獨使用,也可以是組合密封裝置中的基本組成部分,但是還需根據具體使用環境靈活運用。
以上就是“閥門密封中O型圈防吹出結構設計”詳細內容,希望能幫助到你們,如有其他O型圈或相關問題,可進入旭麗橡塑官網,或歡迎來電咨詢!
永嘉旭麗橡塑科技有限公司,在O型圈領域已有25年歷史,生成技術過硬,質量保證,有需求,也可聯系哦!
- 134****656721小時前【向廠家咨詢】
- 157****558148小時前【向廠家咨詢】
- 134****501548小時前【向廠家咨詢】
- 183****936733小時前【向廠家咨詢】
- 157****754934小時前【向廠家咨詢】
- 138****45022小時前【向廠家咨詢】
本文標題:閥門密封中O型圈防吹出結構設計本文地址:http://m.biaoqiu.cn/technology/482.html



「O型圈」聚四氟乙烯橡膠O型圈
全氟醚O型圈
「O型圈」天然橡膠O型圈
「O型圈」氫化丁腈橡膠O型圈