浮動油封綜述,一起了解了解
優質內容 來源:O型圈廠家 作者:O型圈選型助手 發布時間:2020-08-17 09:12:24 閱讀次數: 收藏數:13 分享:50
了解浮動油封是什么,必須要從它的工作原理、常見設計結構及用途、常見材料及主要工藝,三方面來概括,那么接下來,旭麗小編一一為大J來描述一下
一、浮動油封的工作原理
浮動油封的結構一般由一對耐磨的金屬環——一對橡膠圈和浮封環組成,裝配在專用密封腔體——浮封座內使用。浮封環是動密封的主體元件,相互對合并相對旋轉摩擦。橡膠圈裝配與浮封環背部與浮封座之間,將浮封環精確定位在浮封座內。橡膠圈不僅為輔助靜密封元件,而且對浮封環產生軸向和徑向的作用力。徑向作用力起到向浮封環傳遞扭矩的作用,軸向作用力對浮封環提供必須的密封補償力,由于其彈性補償范圍大,可以忽略一定的裝配誤差,在設備發生擺動、振動、竄動時,能保持金屬環密封面的有效貼合,達到浮動密封的效果。

二、浮動油封的常見材料及主要工藝
浮動油封浮封環的金屬材料主要有以軸承鋼為代表的高鉻鉬合金、鎢鉻鈷合金、碳素鋼、鑄鐵、硬質合金鑄鐵、鎳基合金、鎳鉻合金鑄鐵等等。適當增加鎳、鉬、鉻等元素可有效提高合金的強度、耐磨性能與耐腐蝕性能,但同時也增加了原料的成本。可以根據現場實際使用設備的溫度、轉速、腐蝕情況、維護要求選擇Z合適的材料。
常用的原料制作工藝主要有鑄造和鍛造兩種,也有采取粉末熱鍛進行制造的。其中鍛造有模鍛、碾鍛等,一般用來制造軸承鋼等碳素合金結構鋼原料,速度快成本低。鑄造常用殼型鑄造、壓力鑄造、熔模鑄造等方法。
浮封環密封面表面硬度要求較高,一般達到 HRC58 以上,Z高可到 HRC72.為使金屬材料達到較高硬度,提高耐磨的性能,對于多數材料,浮封環還需要進行整體淬火硬化處理或密封面表面硬化處理。表面硬化處理一般采用感應淬火、另外也有氮化、或等離子弧粉末噴焊、激光淬火等。相比整體淬火,表面硬化處理可以使金屬環熱變形量達到Z小。
浮封環密封面表面粗糙度對耐磨能力有很大影響,一般要求小于等于Ra0.2μm。可采用平面或球面研磨達到。后來的研究表明在邊界潤滑條件下,表面細微織構能夠為潤滑油提供存儲空間,更有利于密封面油膜的形成,起到減磨效果。因此鑄造和粉末熱鍛生產出的材料本身具有均勻分散的微孔結構,適用較高的線速度,擁有較長的使用壽命。也有采用電化學腐蝕鈍化等其他工藝制造表面細微織構,以達到延長浮封環使用壽命的目的。
浮動油封不同材質不同硬度的橡膠圈,其物理化學性能都不同,需要根據應用場合的溫度、密封介質、環境腐蝕情況以及設備運行工況進行選擇。大多數場合可以使用丁腈橡膠、也可以選擇低溫丁腈橡膠、氟橡膠、氫化丁腈橡膠、硅橡膠等。硬度與橡膠材質的物理性能有密切關系,一般硬度越高的材料,彈性模量越大、抗拉強度越大、拉斷伸長率越小。常選擇 ShoreA50~70 這類硬度較低的橡膠材料,便于安裝調整準確,可以獲得較好的浮動性能。
三、浮動油封的常見設計結構及用途
浮動油封常見的設計結構有 A 型和B型,以及其它特殊設計。
A型浮動油封應用Z為廣泛,各種工程機械行走機構的支重輪、驅動輪、鏈托輪、導向輪、減速機、螺桿輸送以及車輪輪轂機構等旋轉密封處都可以使用。它由一對錐形浮封環和一對O形圈組成,裝配在內腔也呈錐面的浮封座里。浮動油封壓緊時,根據安裝間隙 A的不同,O形圈壓縮量隨之變化,浮封環密封面的接觸比壓也相應變化,以適應不同密封環境的需要。

浮封環背部錐面角度一般為 15°或 20°設計,針對不同使用需要也有 8°或其它角度的設計。15°或 20°的設計可以使浮封環密封面獲得較大的接觸比壓,以應對較高的內部操作壓力以及阻止外界污染物侵入。8°的設計可以使浮封環密封面獲得比較均勻的接觸比壓,適應于存在外部壓力及振動的工況。與浮封環對應,浮封座內腔錐面角度一般為 10°設計,也有 12°、15°等其它角度的設計。合理的設計可以使裝配好的浮動油封在保證要求的安裝間隙 A 的條件下,浮封環密封面接觸比壓達到 0.4~0.6MPa 之間,適用與大多數場合的應用。并且過大的接觸比壓達,會導致浮封環密封面過度發熱并燒傷,甚至燒壞與之接觸的橡膠O形圈。為保證壓縮的橡膠O形圈能傳遞足夠的扭矩而不打滑,需要浮封環的背錐面與浮封座的內錐面有較大的表面粗糙度,一般要求達到 Ra6.3~12.5μm。A 型浮動油封的浮封座有時因為難于加工,可以使用配套的成型座套。

浮封環密封面的設計分為球面型和平面型。
平面型較為通用。球面型分為單球面和雙球面兩種。球面型密封面特點是接觸時可確保形成閉合的圓形密封線。實際在軸向力的作用下,浮封環發生輕微形變,接觸區域形成很窄的環面,密封可靠性高,散熱性能好。并隨磨損程度的加大,浮封環繼續變形,使接觸面不斷向內側偏移,直到抵達密封面內徑,延長了浮封環的使用壽命。浮封環從密封面到內徑的區域一般采用階梯式、內錐面(斜面)或內球面式設計。內錐面(斜面)或內球面式設計的好處是使潤滑油通過離心力和毛細作用,進入密封面,保證密封面的充分潤滑和冷卻。對于整體硬化的浮封環,理論上接觸密封面可以一直向內偏移至浮封環內徑處。

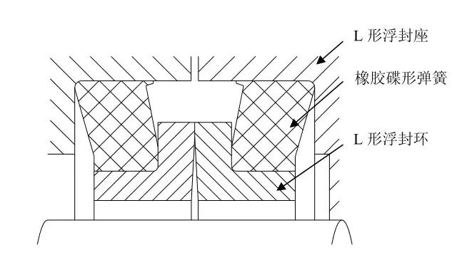
B 形浮動油封是針對高負載設備設計的,常用于各種重型采礦設備易發生較大振竄、沖擊的部位,如采煤設備減速機、鏈輪、搖臂等。它由一對截面為 L 型的浮封環和一對膠圈(橡膠碟形彈簧)組成,裝配在 L 型浮封座內,原理與 A 型相似。由于膠圈的變形能力大于O形圈,因此可以提供更大的浮動范圍。另外 L 形浮封座也易于加工,B形浮動油封的裝配也較為方便。

其它特殊設計的浮動油封原理也基本與 A 型相同,只是針對不同用途而專門設計。


想了解更多密封圈或相關問題,可進入旭麗橡塑官網,或歡迎電話咨詢!
永嘉旭麗橡塑科技有限公司,專注O型圈25年!
- 131****451535小時前【向廠家咨詢】
- 153****787127小時前【向廠家咨詢】
- 130****393631小時前【向廠家咨詢】
- 182****484948小時前【向廠家咨詢】
- 152****675232小時前【向廠家咨詢】
- 138****60813小時前【向廠家咨詢】
本文標題:浮動油封綜述,一起了解了解本文地址:http://m.biaoqiu.cn/technology/433.html



全氟醚O型圈
「O型圈」氫化丁腈橡膠O型圈
「O型圈」天然橡膠O型圈
「O型圈」聚四氟乙烯橡膠O型圈