像膠密封圈術語英語對照
優質內容 來源:O型圈廠家 作者:旭麗橡塑 發布時間:2021-05-05 17:27:35 閱讀次數: 收藏數:14 分享:53
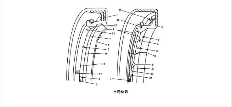
旭麗橡塑為你講解有關液壓橡膠密封圈制作類型、裝配和檢測;旋轉軸唇形型密封圈的類型、汽車用密封條的類型、密封元件、外觀缺陷、公差和配合等,旭麗橡塑為你講解通常使用密封圈術語、定義以及英語對照。
1.軸密封接觸區
密封圈英文:seal land
密封定義:同密封圈唇接觸的經精加工的那部分軸表面。
2.徑向密封圈空間
密封圈英文:space,radial,seal
密封定義:軸外徑與腔體內孔內徑間的徑向距離(如圖所示)。

3.氣泡:
密封圈英文:blister
密封定義:空心的表面隆氣物(下圖所示)
4.緊箍彈簧
密封圈英文:spring,relative
密封定義:鏈接成環的螺旋纏繞鋼絲彈簧,用于保持密封圈唇與軸之間的徑向密封力(上圖所示)
5.粘著實效
密封圈英文:bond failure
密封定義:密封圈的外表面,指壓配合表面(下圖所示)
6.徑向寬度:
密封圈英文:width,radial
密封定義:密封圈外表面與密封圈唇刃口間的徑向距離(上圖所示)
7.外表面
密封圈英文:surface、outside
密封定義:密封圈的外表面、指壓配合表面(上圖所示)
8.彈簧相對位置:
密封圈英文:spring,position,relative
密封定義:密封圈唇刃口彈簧溝槽中心線之間的軸向距離(上圖所示)
9.形變
密封圈英文:deformation
密封定義:應力引起的開關或外形的變化
10.龜裂
密封圈英文:crack
密封定義:在金屬或彈性中的明顯的裂紋或裂縫(下圖所示)
11.填料凸出
密封圈英文:filler projection
密封定義:未分散的填料從彈性體表面凸起(下圖所示)
12.雜質
密封圈英文:inctusion
密封定義:密封圈材料中包含的雜物(下圖所示)

13.擠出
密封圈英文:extrusion
密封圈定義:密封圈某部位被擠入相鄰的縫隙而產生的永久的或暫時的位移
14.隔口
密封圈英文:cut
密封圈定義:由尖銳的工具在密封圈材料上造成的相對較深的不連續的、密封材料末切掉的切口(下圖所示)
15.膠邊
密封圈英文:filler projection
密封圈定義:在模腔分模線或忘乎所以孔處由于擠出而形成的體薄型伸出物(下圖所示)
以上是對“像膠密封圈術語英語對照”知識分享,很高興能幫助你了解這方面問題,如有更多想了解密封圈的情況,可以來電咨詢。
- 133****753262小時前【向廠家咨詢】
- 156****307115小時前【向廠家咨詢】
- 137****290846小時前【向廠家咨詢】
- 187****169451小時前【向廠家咨詢】
- 156****284728小時前【向廠家咨詢】
- 131****916330小時前【向廠家咨詢】
本文標題:像膠密封圈術語英語對照本文地址:http://m.biaoqiu.cn/selection/144.html



「O型圈」聚四氟乙烯橡膠O型圈
「O型圈」氫化丁腈橡膠O型圈
全氟醚O型圈
「O型圈」天然橡膠O型圈